Available for ImportNon-return Valve 3C-7-4 for Preventing Backflow in Pipeline Systems
Bulk pricing available
FOB, CIF & EXW terms available
Description
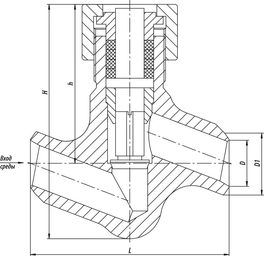
Reverse valves are used in pipeline systems as uncontrolled, automatically acting protective devices, serving to prevent the reverse flow of the working medium in emergency situations. In working condition the check valve/valve is open under the influence of the working medium flow. In the absence of medium flow or in case of flow in the opposite direction, the valve/valve is closed.
Design versions: lift and butterfly valves. Installation position of the check valve: only on horizontal pipeline sections with the medium flow direction "under the plate", so that the flow direction coincides with the arrow marked on the body, with the nut (cover) pointing upwards only. Connection to pipework: under welding.
Gate tightness: according to class A of GOST 9544-2015. Climatic design: ?, ???, ??,? according to GOST 15150-69.
Placement category: 1, 2, 3 according to GOST 15150-69.
Specifications
Share your requirements for a quick response!
Delivery & Payment
Shipping Terms
Delivery Time
Payment Methods
Similar Products You May Be Interested In
Pipeline Shut-off Valve (Gate Valve) RK 110.300.00-E
View DetailsFlat Electric Drive Vacuum Valve ZVPle-900 for Vacuum Systems
View DetailsGT7-112250 Ball Valve PN40 DN40 for Pipeline Control
View DetailsPneumatic Actuated Vacuum Valve KVP-40
View DetailsElectromechanical Vacuum Valve 2ЗВЭ-100
View DetailsElectromechanical Vacuum Valve 2ZVE-400R with Reducer
View DetailsFlow Control Valve UZR for Pipeline Regulation
View DetailsSpecial Handheld Vacuum Angle Valve 25M URS
View DetailsVacuum Valve with Manual Drive KVR-16 for Pressure Control
View DetailsPressure Differential Sensor Connection Block BKN-3
View DetailsElectromechanical Vacuum Valve 2ЗВЭ-160Р with Reducer
View DetailsFlat Pneumatic Vacuum Gate Valve ZVPp-250
View DetailsVerified Suppliers
All products are sourced directly from authorized Russian manufacturers
Quality Assurance
Products meet international quality standards with proper certification
Global Shipping
Reliable logistics solutions to deliver products to your location
Secure Payments
Multiple secure payment options to facilitate international transactions